展开全部
收起全部
-
技术特性
工作:
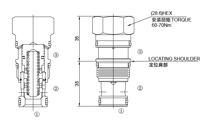
当在①口的压力超过开启压力,①到②开启;在反方向,②到①关闭;
当液控口③压力达到一定时,锥阀芯关闭,①和②不通,液控活塞面积与锥阀座面积
比为 1.8:1。
-
技术曲线

-
技术参数
工作压力350bar流量请查看《压力-流量曲线图》插孔SUN T-2A过滤参考《油液清洁度》内泄漏2 drops/min.(滴/分) max. at 350bar开启压力A=0.3bar
B=1.0bar
C=2.0bar
D=3.5bar
E=5.0bar
F=7.0bar
J=9.5bar控制比1.8:1温度-40ºF to +250ºF(-40ºC to +120ºC)油液Mineral-based fluids with viscosities of 7.4 to 420 cSt.(矿物油粘度)阀块材料钢和球铁允许使用最大压力350bar -
文件下载
PDF文件 -
相关辅件











